Máy bơm chữa cháy tuabin thẳng đứng trục dài XBD Máy móc ZEN chất lượng cao bao gồm một số cánh quạt ly tâm, vỏ dẫn hướng, ống nước, trục truyền động, động cơ đế bơm và các bộ phận khác. Đế bơm và động cơ được đặt phía trên bể, công suất của động cơ được truyền đến trục cánh quạt thông qua trục truyền động đồng tâm với ống nước, từ đó tạo ra dòng chảy và áp suất.
Máy bơm chữa cháy tuabin thẳng đứng trục dài ZEN XBD chất lượng cao có trục dài bao gồm ba phần: bộ phận làm việc, bộ phận ống nước và bộ phận bề mặt.
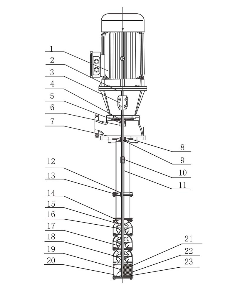
1. Bộ phận làm việc
Phần này bao gồm các bộ phận làm việc và bộ phận lọc nước. Các bộ phận làm việc bao gồm vỏ dẫn hướng, cánh quạt, ống lót hình nón, ổ trục trượt, trục cánh quạt và các bộ phận khác. Cánh quạt là một cấu trúc khép kín. Các vỏ được kết nối bằng bu lông. Vòng bù có thể được lắp đặt trên vỏ dẫn hướng và bánh công tác.
2. Phần hệ thống nước
Bộ phận này bao gồm các ống nước, trục truyền động, khớp nối và giá đỡ. Ống nước được nối bằng mặt bích, trục truyền động được làm bằng thép 2Cr13 hoặc thép không gỉ.
3. Phần bề mặt
Bao gồm các bộ phận đế bơm, động cơ, giá đỡ động cơ, khớp nối và các bộ phận khác.
Máy bơm chữa cháy tuabin thẳng đứng XBD có trục dài chủ yếu được sử dụng để chữa cháy bằng vòi chữa cháy, chữa cháy phun nước tự động và các hệ thống chữa cháy khác trong các doanh nghiệp công nghiệp và khai thác mỏ, xây dựng kỹ thuật, nhà cao tầng, cũng như cấp thoát nước đô thị, v.v.
1. Theo nguyên tắc, nước sạch, không xâm thực.
2. Hàm lượng chất rắn trong nước (theo trọng lượng) không quá 0,01%.
3. Giá trị pH trong khoảng 6,5–8,5.
4. Hàm lượng hydro sunfua không quá 1,5 mg/l.
5. Nhiệt độ nước không được vượt quá 40°C.
TỐC ĐỘ LƯU LƯỢNG: 5–110 (l/s)
ĐẦU: 32–200 (m)
CÔNG SUẤT: 3–200 (kW)
TỐC ĐỘ HOẠT ĐỘNG: 3000 vòng/phút
Máy bơm chữa cháy tuabin bao gồm ba phần: bộ phận làm việc, bộ phận cấp nước và bộ phận bề mặt.
1. Phần làm việc
Phần này bao gồm các bộ phận làm việc và các bộ phận lọc nước. Các bộ phận làm việc bao gồm vỏ dẫn hướng, bánh công tác, ống lót côn, ổ trục trơn, trục cánh quạt và các bộ phận khác. Cánh quạt là một cấu trúc khép kín. Các vỏ được kết nối bằng bu lông. Vòng bù có thể được lắp đặt trên vỏ dẫn hướng và bánh công tác.
2. Phần hệ thống nước
Bộ phận này bao gồm các ống nước, trục truyền động, khớp nối và các bộ phận giá đỡ.
Phần cấp nước được nối bằng mặt bích, vật liệu trục truyền là 2Cr13 hoặc thép không gỉ.
3. Phần bề mặt
Bộ phận này bao gồm các bộ phận như đế bơm, động cơ, giá đỡ động cơ, khớp nối và các bộ phận khác.
1. Theo nguyên tắc, nước sạch, không xâm thực.
2. Hàm lượng chất rắn trong nước (theo khối lượng) - không quá 0,01%.
3. Giá trị PH – trong khoảng 6,5–8,5.
4. Hàm lượng hydro sunfua - không quá 1,5 mg/l.
5. Nhiệt độ nước không được vượt quá 40°C.
|
№ |
YẾU TỐ | Vật liệu |
| 1 | Động cơ | CUỘC HỌP |
| 2 | Gắn động cơ | QT400-18 |
| 3 | khớp nối | ZG235-150 |
| 4 | Bìa niêm phong | QT100-18 |
| 5 | Phốt cơ khí | CARBON-SIC-NBR |
| 6 | Người giữ dấu | ZG235-450 |
| 7 | Ống thoát | QT400-18 |
| 8 | Ống thoát | QT400-18 |
| 9 | Trục đỡ | COTTO NIRON |
| 10 | khớp nối | ZG235-150 |
| 11 | trục | 20CR13 |
| 12 | Hỗ trợ mang | COTTO NIRON |
| 13 | Dấu ngoặc | QT100-18 |
| 14 | Bát trên | QT100-18 |
| 15 | ПCốc chịu lực | CAO SU |
| 16 | Tách | 20CR13 |
| 17 | cánh quạt |
06CR19N110 |
| 18 | Bát giữa | QT400-18 |
| 19 | mang | CAO SU |
| 20 | Chuông hút | QT100-18 |
| 21 | Lọc | O6CR19NI10 |
| 22 | Đĩa đẩy | 20CR13 |
| 23 | Tấm đẩy phía trước | HỖN HỢP TEFLON |
| Con số | Kiểu | dòng chảy danh nghĩa (T/S) |
Cố gắng (m) |
Quyền lực (kW) |
Tốc độ (vòng/phút) |
Cỡ nòng (mm) |
Áp suất làm việc tối đa (MPa) |
150% áp suất dòng danh nghĩa ( ≥Mpa) |
| 1 | XBD4.0/1WJ-SEAD | 1 | 40 | 3 | 3000 | 50 | 0.560 | 0.260 |
| 2 | XBD5.0/1WJ-SEAD | 1 | 50 | 4 | 3000 | 50 | 0.700 | 0.325 |
| 3 | XBD6.0/1WJ-SEAD | 1 | 60 | 4 | 3000 | 50 | 0.840 | 0.390 |
| 4 | XBD7.0/1WJ-SEAD | 1 | 70 | 5.5 | 3000 | 50 | 0.980 | 0.455 |
| 5 | XBD8.0/1WJ-SEAD | 1 | 80 | 7.5 | 3000 | 50 | 1.120 | 0.520 |
| 6 | XBD9.0/1WJ-SEAD | 1 | 90 | 7.5 | 3000 | 50 | 1.260 | 0.585 |
| 7 | THIẾT BỊ XBD10.0/1WJ | 1 | 100 | 11 | 3000 | 50 | 1.400 | 0.650 |
| 8 | THIẾT BỊ XBD11.0/1WJ | 1 | 110 | 11 | 3000 | 50 | 1.540 | 0.715 |
| 9 | XBD12.0/1WJ-SEAD | 1 | 120 | 11 | 3000 | 50 | 1.680 | 0.780 |
| 10 | XBD13.0/1WJ-SEAD | 1 | 130 | 11 | 3000 | 50 | 1.820 | 0.815 |
| 11 | THIẾT BỊ XBD14.0/1WJ | 1 | 140 | 15 | 3000 | 50 | 1.960 | 0.910 |
| 12 | XBD15.0/1WJ-SEAD | 1 | 150 | 15 | 3000 | 50 | 2.100 | 0.975 |
| 13 | XBD16.0/1WJ-SEAD | 1 | 160 | 15 | 3000 | 50 | 2.240 | 1.040 |
| 14 | XBD16.8.0/1WJ-SEAD | 1 | 168 | 3 | 3000 | 50 | 2.352 | 1.092 |
| 15 | XBD4.0/3WJ-SEAD | 3 | 40 | 4 | 3000 | 50 | 0.560 | 0.260 |
| 16 | XBD5.0/3WJ-SEAD | 3 | 50 | 5.5 | 3000 | 50 | 0.700 | 0.325 |
| 17 | THIẾT BỊ XBD6.0/3WJ | 3 | 60 | 7.5 | 3000 | 50 | 0.840 | 0.390 |
| 18 | XBD7.0/3WJ-SEAD | 3 | 70 | 7.5 | 3000 | 50 | 0.980 | 0.455 |
| 19 | XBD8.0/3WJ-SEAD | 3 | 80 | 7.5 | 3000 | 50 | 1.120 | 0.520 |
| 20 | XBD9.0/3WJ-SEAD | 3 | 90 | 7.5 | 3000 | 50 | 1.260 | 0.585 |
| 21 | XBD10.0/3WJ-SEAD | 3 | 100 | 11 | 3000 | 50 | 1.400 | 0.650 |
| 22 | XBD11.0/3WJ-SEAD | 3 | 110 | 11 | 3000 | 50 | 1.540 | 0.715 |
| 23 | XBD12.0/3WJ-SEAD | 3 | 120 | 11 | 3000 | 50 | 1.680 | 0.780 |
| 24 | XBD13.0/3WJ-SEAD | 3 | 130 | 11 | 3000 | 50 | 1.820 | 0.815 |
| 25 | XBD14.0/3WJ-SEAD | 3 | 140 | 15 | 3000 | 50 | 1.960 | 0.90 |
| 26 | XBD15.0/3WJ-SEAD | 3 | 150 | 15 | 3000 | 50 | 2.100 | 0.975 |
| 27 | XBD16.0/3WJ-SEAD | 3 | 160 | 15 | 3000 | 50 | 2.240 | 1.040 |
| 28 | XBD16.8/3WJ-SEAD | 3 | 168 | 15 | 3000 | 50 | 2.352 | 1.092 |
| 29 | XBD4.0/5WJ-SEAD | 5 | 40 | 4 | 3000 | 50 | 0.560 | 0.260 |
| 30 | XBD5.0/5WJ-SEAD | 5 | 50 | 5.5 | 3000 | 50 | 0.700 | 0.325 |
| 31 | XBD6.0/5WJ-SEAD | 5 | 60 | 7.5 | 3000 | 50 | 0.840 | 0.390 |
| 32 | XBD7.0/5WJ-SEAD | 5 | 70 | 7.5 | 3000 | 50 | 0.980 | 0.455 |
| 33 | THIẾT BỊ XBD8.0/5WJ | 5 | 80 | 11 | 3000 | 50 | 1.120 | 0.520 |
| 34 | THIẾT BỊ XBD9.0/5WJ | 5 | 90 | 11 | 3000 | 50 | 1.260 | 0.585 |
| 35 | THIẾT BỊ XBD10.0/5WJ | 5 | 100 | 11 | 3000 | 50 | 1.400 | 0.650 |
| 36 | THIẾT BỊ XBD11.0/5WJ | 5 | 110 | 15 | 3000 | 50 | 1.540 | 0.780 |
| 37 | XBD12.0/5WJ-SEAD | 5 | 120 | 15 | 3000 | 50 | 1.680 | 0.845 |
| Con số | Kiểu | dòng chảy danh nghĩa (T/S) |
Cố gắng (m) |
Quyền lực (kW) |
Tốc độ (vòng/phút) |
Cỡ nòng (mm) |
Áp suất làm việc tối đa (MPa) |
150% áp suất dòng danh nghĩa ( ≥Mpa) |
| 38 | XBD13.0/5WJ-SEAD | 5 | 130 | 15 | 3000 | 50 | 1.820 | 0.845 |
| 39 | XBD14.0/5WJ-SEAD | 5 | 140 | 15 | 3000 | 50 | 1.960 | 0.910 |
| 40 | XBD15.0/5WJ-SEAD | 5 | 150 | 18.5 | 3000 | 50 | 2.100 | 0.975 |
| 41 | XBD16.0/5WJ-SEAD | 5 | 160 | 18.5 | 3000 | 50 | 2.240 | 1.040 |
| 42 | XBD16.8/5WJ-SEAD | 5 | 168 | 30 | 3000 | 50 | 2.352 | 1.092 |
| 43 | XBD3.3/5GJ-SEAD | 5 | 33 | 3 | 3000 | 50 | 0.462 | 0.215 |
| 44 | THIẾT BỊ XBD4.0/5GJ | 5 | 40 | 4 | 3000 | 50 | 0.560 | 0.260 |
| 45 | THIẾT BỊ XBD6.0/5GJ | 5 | 60 | 5.5 | 3000 | 50 | 0.840 | 0.390 |
| 46 | THIẾT BỊ XBD8.0/5GJ | 5 | 80 | 7.5 | 3000 | 50 | 1.120 | 0.520 |
| 47 | XBD10.0/5GJ-SEAD | 5 | 100 | 11 | 3000 | 50 | 1.400 | 0.650 |
| 48 | THIẾT BỊ XBD12.0/5GJ | 5 | 120 | 15 | 3000 | 50 | 1.680 | 0.780 |
| 49 | XBD14.0/5GJ-SEAD | 5 | 140 | 15 | 3000 | 50 | 1.960 | 0.910 |
| 50 | THIẾT BỊ XBD16.3/5GJ | 5 | 163 | 18.5 | 3000 | 50 | 2.282 | 1.060 |
| 51 | XBD3.2/10GJ-SEAD | 10 | 32 | 5.5 | 3000 | 80 | 0.448 | 0.208 |
| 52 | XBD4.2/10GJ-SEAD | 10 | 42 | 7.5 | 3000 | 80 | 0.588 | 0.273 |
| 53 | XBD5.0/10GJ-SEAD | 10 | 50 | 11 | 3000 | 80 | 0.700 | 0.325 |
| 54 | XBD6.0/10GJ-SEAD | 10 | 60 | 15 | 3000 | 80 | 0.840 | 0.390 |
| 55 | XBD8.4/10GJ-SEAD | 10 | 84 | 15 | 3000 | 80 | 1.176 | 0.546 |
| 56 | XBD9.6/10GJ-SEAD | 10 | 96 | 18.5 | 3000 | 80 | 1.344 | 0.624 |
| 57 | THIẾT BỊ XBD10.0/10GJ | 10 | 100 | 18.5 | 3000 | 80 | 1.400 | 0.650 |
| 58 | XBD11.0/10GJ-SEAD | 10 | 110 | 18.5 | 3000 | 80 | 1.540 | 0.715 |
| 59 | XBD12.0/10GJ-SEAD | 10 | 120 | 22 | 3000 | 80 | 1.680 | 0.780 |
| 60 | XBD13.0/10GJ-SEAD | 10 | 130 | 22 | 3000 | 80 | 1.820 | 0.845 |
| 61 | XBD14.4/10GJ-SEAD | 10 | 144 | 30 | 3000 | 80 | 2.016 | 0.936 |
| 62 | XBD15.6/10GJ-SEAD | 10 | 156 | 30 | 3000 | 80 | 2.184 | 1.014 |
| 63 | XBD17.0/10GJ-SEAD | 10 | 170 | 37 | 3000 | 80 | 2.380 | 1.105 |
| 64 | XBD18.0/10GJ-SEAD | 10 | 180 | 37 | 3000 | 80 | 2.520 | 1.170 |
| 65 | XBD3.6/15GJ-SEAD | 15 | 36 | 11 | 3000 | 80 | 0.501 | 0.231 |
| 66 | XBD4.0/15GJ-SEAD | 15 | 40 | 11 | 3000 | 80 | 0.560 | 0.260 |
| 67 | XBD5.0/15GJ-SEAD | 15 | 50 | 15 | 3000 | 80 | 0.700 | 0.325 |
| 68 | XBD6.0/15GJ-SEAD | 15 | 60 | 15 | 3000 | 80 | 0.840 | 0.390 |
| 69 | XBD7.2/15GJ-SEAD | 15 | 72 | 18.5 | 3000 | 80 | 1.008 | 0.325 |
| 70 | XBD8.4/15GJ-SEAD | 15 | 84 | 22 | 3000 | 80 | 1.176 | 0.468 |
| 71 | XBD9.6/15GJ-SEAD | 15 | 96 | 22 | 3000 | 80 | 1.344 | 0.546 |
| 72 | XBD10.0/15GJ-SEAD | 15 | 100 | 22 | 3000 | 80 | 1.400 | 0.624 |
| 73 | XBD11.0/15GJ-SEAD | 15 | 110 | 30 | 3000 | 80 | 1540 | 0.650 |
| 74 | XBD12.0/15GJ-SEAD | 15 | 120 | 30 | 3000 | 80 | 1680 | 0.715 |
| Con số | Kiểu | dòng chảy danh nghĩa (T/S) |
Cố gắng (m) |
Quyền lực (kW) |
Tốc độ (vòng/phút) |
Cỡ nòng (mm) |
Áp suất làm việc tối đa (MPa) |
150% áp suất dòng danh nghĩa ( ≥Mpa) |
| 75 | XBD13.0/15GJ-SEAD | 15 | 130 | 37 | 3000 | 80 | 1.820 | 0.845 |
| 76 | XBD14.0/15GJ-SEAD | 15 | 140 | 37 | 3000 | 80 | 1.960 | 0.910 |
| 77 | XBD15.6/15GJ-SEAD | 15 | 156 | 37 | 3000 | 80 | 2.184 | 1.014 |
| 78 | XBD17.0/15GJ-SEAD | 15 | 170 | 45 | 3000 | 80 | 2.380 | 1.105 |
| 79 | XBD18.2./15GJ-SEAD | 15 | 182 | 45 | 3000 | 80 | 2.518 | 1.183 |
| 80 | THIẾT BỊ XBD20.0/15GJ | 15 | 200 | 55 | 3000 | 80 | 2.800 | 1.300 |
| 81 | XBD3.3/20GJ-SEAD | 20 | 33 | 11 | 3000 | 100 | 0.462 | 0.215 |
| 82 | THIẾT BỊ XBD4.0/20GJ | 20 | 40 | 15 | 3000 | 100 | 0.580 | 0.260 |
| 83 | XBD4.4/20GJ-SEAD | 20 | 44 | 15 | 3000 | 100 | 0.616 | 0.286 |
| 84 | THIẾT BỊ XBD5.0/20GJ | 20 | 50 | 18.5 | 3000 | 100 | 0.700 | 0.325 |
| 85 | XBD5.5/20GJ-SEAD | 20 | 55 | 18.5 | 3000 | 100 | 0.770 | 0.358 |
| 86 | XBD6.0/20GJ-SEAD | 20 | 50 | 22 | 3000 | 100 | 0.700 | 0.325 |
| 87 | THIẾT BỊ XBD6.6/20GJ | 20 | 66 | 22 | 3000 | 100 | 0.924 | 0.429 |
| 88 | XBD7.0/20GJ-SEAD | 20 | 70 | 30 | 3000 | 100 | 0.980 | 0.455 |
| 89 | THIẾT BỊ XBD8.0/20GJ | 20 | 80 | 30 | 3000 | 100 | 1.120 | 0.520 |
| 90 | XBD9.0/20GJ-SEAD | 20 | 90 | 30 | 3000 | 100 | 1.260 | 0.585 |
| 91 | XBD10.0/20GJ-SEAD | 20 | 100 | 37 | 3000 | 100 | 1.400 | 0.650 |
| 92 | THIẾT BỊ XBD11.0/20GJ | 20 | 110 | 37 | 3000 | 100 | 1.540 | 0.75 |
| 93 | THIẾT BỊ XBD12.1/20GJ | 20 | 121 | 45 | 3000 | 100 | 1.694 | 0.787 |
| 94 | XBD14.0/20GJ-SEAD | 20 | 140 | 45 | 3000 | 100 | 1.960 | 0.910 |
| 95 | XBD16.0/20GJ-SEAD | 20 | 160 | 55 | 3000 | 100 | 2.240 | 1.040 |
| 96 | THIẾT BỊ XBD18.0/20GJ | 20 | 180 | 55 | 3000 | 100 | 2.520 | 1.170 |
| 97 | THIẾT BỊ XBD20.0/20GJ | 20 | 200 | 75 | 3000 | 100 | 2.800 | 1.300 |
| 98 | XBD3.2/25GJ-SEAD | 25 | 32 | 11 | 3000 | 100 | 0.448 | 0.208 |
| 99 | THIẾT BỊ XBD4.2/25GJ | 25 | 42 | 15 | 3000 | 100 | 0.588 | 0.273 |
| 100 | XBD5.3/25GJ-SEAD | 25 | 53 | 18.5 | 3000 | 100 | 0.742 | 0.345 |
| 101 | XBD6.3/25GJ-SEAD | 25 | 63 | 22 | 3000 | 100 | 0.882 | 0.410 |
| 102 | XBD7.3/25GJ-SEAD | 25 | 73 | 30 | 3000 | 100 | 1.022 | 0.475 |
| 103 | XBD8.4/25GJ-SEAD | 25 | 84 | 37 | 3000 | 100 | 1.176 | 0.546 |
| 104 | XBD9.0/25GJ-SEAD | 25 | 90 | 37 | 3000 | 100 | 1.260 | 0.585 |
| 105 | XBD10.0/25GJ-SEAD | 25 | 100 | 37 | 3000 | 100 | 1.400 | 0.950 |
| 106 | XBD11.0/25GJ-SEAD | 25 | 110 | 45 | 3000 | 100 | 1.540 | 0.715 |
| 107 | XBD12.0/25GJ-SEAD | 25 | 120 | 45 | 3000 | 100 | 1.680 | 0.780 |
| 108 | THIẾT BỊ XBD14.0/25GJ | 25 | 140 | 55 | 3000 | 100 | 1.960 | 0.910 |
| 109 | XBD16.0/25GJ SEAD | 25 | 160 | 75 | 3000 | 100 | 2.240 | 1.040 |
| 110 | XBD18.5/25GJ-SEAD | 25 | 185 | 75 | 3000 | 100 | 2.590 | 1.203 |
| 111 | XBD3.6/30GJ-SEAD | 30 | 36 | 15 | 3000 | 100 | 0.504 | 0.234 |
| Con số | Kiểu | dòng chảy danh nghĩa (T/S) |
Cố gắng (m) |
Quyền lực (kW) |
Tốc độ (vòng/phút) |
Cỡ nòng (mm) |
Áp suất làm việc tối đa (MPa) |
150% áp suất dòng danh nghĩa ( ≥Mpa) |
| 112 | THIẾT BỊ XBD4.2/30GJ | 30 | 40 | 18.5 | 3000 | 100 | 0.560 | 0.260 |
| 113 | THIẾT BỊ XBD5.0/30GJ | 30 | 50 | 22 | 3000 | 100 | 0.700 | 0.325 |
| 114 | THIẾT BỊ XBD6.0/30GJ | 30 | 60 | 30 | 3000 | 100 | 0.840 | 0.390 |
| 115 | XBD7.2/30GJ-CHAAD | 30 | 72 | 30 | 3000 | 100 | 1.008 | 0.468 |
| 116 | THIẾT BỊ XBD8.0/30GJ | 30 | 80 | 37 | 3000 | 100 | 1.120 | 0.520 |
| 117 | XBD9.0/30GJ-SEAD | 30 | 90 | 45 | 3000 | 100 | 1.260 | 0.585 |
| 118 | THIẾT BỊ XBD10.0/30GJ | 30 | 100 | 45 | 3000 | 100 | 1.400 | 0.650 |
| 119 | THIẾT BỊ XBD11.0/30GJ | 30 | 110 | 45 | 3000 | 100 | 1.540 | 0.715 |
| 120 | XBD13.0/30GJ-SEAD | 30 | 130 | 55 | 3000 | 100 | 1.820 | 0.845 |
| 121 | XBD14.5/30GJ-SEAD | 30 | 145 | 75 | 3000 | 100 | 2.030 | 0.943 |
| 122 | XBD16.2/30GJ-SEAD | 30 | 162 | 75 | 3000 | 100 | 2.268 | 1.053 |
| 123 | XBD18.0/30GJ-SEAD | 30 | 180 | 90 | 3000 | 100 | 2.520 | 1.170 |
| 124 | XBD20.0/30GJ-SEAD | 30 | 200 | 90 | 3000 | 100 | 2.800 | 1.300 |
| 125 | XBD3.2/35GJ-SEAD | 35 | 32 | 18.5 | 3000 | 100 | 0.448 | 0.208 |
| 126 | THIẾT BỊ XBD4.0/35GJ | 35 | 40 | 22 | 3000 | 100 | 0.560 | 0.260 |
| 127 | XBD5.0/35GJ-SEAD | 35 | 50 | 30 | 3000 | 100 | 0.700 | 0.325 |
| 128 | XBD6.0/35GJ-SEAD | 35 | 60 | 30 | 3000 | 100 | 0.840 | 0.390 |
| 129 | XBD6.5/35GJ-SEAD | 35 | 65 | 37 | 3000 | 100 | 0.910 | 0.423 |
| 130 | XBD7.0/35GJ-SEAD | 35 | 70 | 37 | 3000 | 100 | 0.980 | 0.455 |
| 131 | THIẾT BỊ XBD8.0/35GJ | 35 | 80 | 45 | 3000 | 100 | 1.120 | 0.520 |
| 132 | XBD9.0/35GJ-SEAD | 35 | 90 | 55 | 3000 | 100 | 1.260 | 0.585 |
| 133 | THIẾT BỊ XBD10.0/35GJ | 35 | 100 | 55 | 3000 | 100 | 1.400 | 0.650 |
| 134 | XBD11.2/35GJ-SEAD | 35 | 112 | 75 | 3000 | 100 | 1.568 | 0.728 |
| 135 | XBD13.0/35GJ-SEAD | 35 | 130 | 75 | 3000 | 100 | 1.820 | 0.845 |
| 136 | XBD15.0/35GJ-SEAD | 35 | 150 | 90 | 3000 | 100 | 2.100 | 0.975 |
| 137 | XBD16.0/35GJ-SEAD | 35 | 160 | 90 | 3000 | 100 | 2.240 | 1.040 |
| 138 | XBD18.0/35GJ-SEAD | 35 | 180 | 110 | 3000 | 100 | 2.520 | 1.170 |
| 139 | THIẾT BỊ XBD19.2/35GJ | 35 | 192 | 110 | 3000 | 100 | 2.688 | 1.248 |
| 140 | XBD20.0/35GJ-SEAD | 35 | 200 | 132 | 3000 | 100 | 2.800 | 1.300 |
| 141 | XBD3.2/40GJ-SEAD | 40 | 32 | 22 | 3000 | 150 | 0.448 | 0.208 |
| 142 | XBD4.0/40GJ-SEAD | 40 | 40 | 30 | 3000 | 150 | 0.560 | 0.260 |
| 143 | XBD4.8/40GJ-SEAD | 40 | 48 | 30 | 3000 | 150 | 0.672 | 0.312 |
| 144 | THIẾT BỊ XBD5.0/40GJ | 40 | 50 | 37 | 3000 | 150 | 0.700 | 0.325 |
| 145 | XBD6.0/40GJ-SEAD | 40 | 60 | 45 | 3000 | 150 | 0.840 | 0.390 |
| 146 | XBD7.0/40GJ-SEAD | 40 | 70 | 45 | 3000 | 150 | 0.980 | 0.455 |
| 147 | XBD8.0/40GJ-SEAD | 40 | 80 | 55 | 3000 | 150 | 1.120 | 0.520 |
| 148 | THIẾT BỊ XBD9.0/40GJ | 40 | 90 | 55 | 3000 | 150 | 1.260 | 0.585 |
| Con số | Kiểu | dòng chảy danh nghĩa (T/S) |
Cố gắng (m) |
Quyền lực (kW) |
Tốc độ (vòng/phút) |
Cỡ nòng (mm) |
Áp suất làm việc tối đa (MPa) |
150% áp suất dòng danh nghĩa ( ≥Mpa) |
| 149 | XBD10.0/40GJ-SEAD | 40 | 100 | 55 | 3000 | 150 | 1.400 | 0.650 |
| 150 | XBD11.0/40GJ-SEAD | 40 | 110 | 75 | 3000 | 150 | 1.540 | 0.715 |
| 151 | THIẾT BỊ XBD12.0/40GJ | 40 | 120 | 75 | 3000 | 150 | 1680 | 0.780 |
| 152 | THIẾT BỊ XBD14.0/40GJ | 40 | 140 | 90 | 3000 | 150 | 1960 | 0.910 |
| 153 | XBD15.0/40GJ-SEAD | 40 | 150 | 90 | 3000 | 150 | 2100 | 0.975 |
| 154 | XBD16.5/40GJ-SEAD | 40 | 165 | 110 | 3000 | 150 | 2310 | 1.073 |
| 155 | THIẾT BỊ XBD18.5/40GJ | 40 | 180 | 110 | 3000 | 150 | 2520 | 1.170 |
| 156 | THIẾT BỊ XBD20.0/40GJ | 40 | 200 | 132 | 3000 | 150 | 2800 | 1.300 |
| 157 | XBD3.0/45GJ SEAD | 45 | 30 | 22 | 3000 | 150 | 0.420 | 0.195 |
| 158 | THIẾT BỊ XBD4.0/45GJ | 45 | 40 | 30 | 3000 | 150 | 0.560 | 0.260 |
| 159 | XBD5.0/45GJ-SEAD | 45 | 50 | 37 | 3000 | 150 | 0.700 | 0.325 |
| 160 | XBD6.0/45GJ-SEAD | 45 | 60 | 45 | 3000 | 150 | 0.810 | 0.390 |
| 161 | THIẾT BỊ XBD7.0/45GJ | 45 | 70 | 55 | 3000 | 150 | 0.980 | 0.455 |
| 162 | THIẾT BỊ XBD8.0/45GJ | 45 | 80 | 55 | 3000 | 150 | 1.120 | 0.520 |
| 163 | XBD9.0/45GJ-SEAD | 45 | 90 | 75 | 3000 | 150 | 1.260 | 0.585 |
| 164 | XBD10.0/45GJ-SEAD | 45 | 100 | 75 | 3000 | 150 | 1.400 | 0.650 |
| 165 | XBD3.2/50GJ-SEAD | 50 | 32 | 22 | 3000 | 150 | 0.448 | 0.208 |
| 166 | XBD4.0/50GJ-SEAD | 50 | 40 | 30 | 3000 | 150 | 0.560 | 0.260 |
| 167 | XBD4.5/50GJ-SEAD | 50 | 45 | 37 | 3000 | 150 | 0.630 | 0.293 |
| 168 | XBD5.0/50GJ-SEAD | 50 | 50 | 37 | 3000 | 150 | 0.700 | 0.325 |
| 169 | XBD6.0/50GJ-SEAD | 50 | 60 | 45 | 3000 | 150 | 0.840 | 0.390 |
| 170 | XBD7.0/50GJ-CHAAD | 50 | 70 | 55 | 3000 | 150 | 0.980 | 0.455 |
| 171 | XBD8.0/50GJ-SEAD | 50 | 80 | 55 | 3000 | 150 | 1.120 | 0.520 |
| 172 | XBD9.0/50GJ-SEAD | 50 | 90 | 75 | 3000 | 150 | 1.260 | 0.585 |
| 173 | THIẾT BỊ XBD10.5/50GJ | 50 | 105 | 75 | 3000 | 150 | 1.470 | 0.683 |
| 174 | XBD12.0/50GJ-SEAD | 50 | 120 | 90 | 3000 | 150 | 1.680 | 0.780 |
| 175 | THIẾT BỊ XBD14.0/50GJ | 50 | 140 | 110 | 3000 | 150 | 1.960 | 0.910 |
| 176 | XBD15.0/50GJ-SEAD | 50 | 150 | 132 | 3000 | 150 | 2.100 | 0.975 |
| 177 | XBD17.0/50GJ-SEAD | 50 | 170 | 160 | 3000 | 150 | 2.380 | 1.105 |
| 178 | XBD18.0/50GJ-SEAD | 50 | 180 | 160 | 3000 | 150 | 2.520 | 1.170 |
| 179 | XBD20.0/50GJ-SEAD | 50 | 200 | 200 | 3000 | 150 | 2.800 | 1.300 |
| 180 | XBD4.0/55GJ-SEAD | 55 | 40 | 37 | 3000 | 150 | 0.560 | 0.260 |
| 181 | XBD5.0/55GJ-SEAD | 55 | 50 | 45 | 3000 | 150 | 0.700 | 0.325 |
| 182 | XBD6.0/55GJ-SEAD | 55 | 60 | 55 | 3000 | 150 | 0.840 | 0.390 |
| 183 | XBD7.0/55GJ-SEAD | 55 | 70 | 55 | 3000 | 150 | 0.980 | 0.455 |
| 184 | XBD8.0/55GJ-SEAD | 55 | 80 | 75 | 3000 | 150 | 1.120 | 0.520 |
| 185 | XBD10.0/55GJ-SEAD | 55 | 100 | 90 | 3000 | 150 | 1.400 | 0.650 |
| Con số | Kiểu | dòng chảy danh nghĩa (T/S) |
Cố gắng (m) |
Quyền lực (kW) |
Tốc độ (vòng/phút) |
Cỡ nòng (mm) |
Áp suất làm việc tối đa (MPa) |
150% áp suất dòng danh nghĩa ( ≥Mpa) |
| 186 | THIẾT BỊ XBD4.0/60GJ | 60 | 40 | 37 | 3000 | 150 | 0.560 | 0.260 |
| 187 | XBD5.0/60GJ-SEAD | 60 | 50 | 45 | 3000 | 150 | 0.700 | 0.325 |
| 188 | THIẾT BỊ XBD6.0/60GJ | 60 | 60 | 55 | 3000 | 150 | 0.840 | 0.390 |
| 189 | XBD7.0/60GJ-SEAD | 60 | 70 | 75 | 3000 | 150 | 0.980 | 0.455 |
| 190 | THIẾT BỊ XBD8.0/60GJ | 60 | 80 | 75 | 3000 | 150 | 1.120 | 0.520 |
| 191 | XBD9.0/60GJ-SEAD | 60 | 90 | 90 | 3000 | 150 | 1.260 | 0.585 |
| 192 | THIẾT BỊ XBD10.0/60GJ | 60 | 100 | 90 | 3000 | 150 | 1.400 | 0.650 |
| 193 | XBD12.0/60GJ-SEAD | 60 | 120 | 110 | 3000 | 150 | 1.680 | 0.780 |
| 194 | THIẾT BỊ XBD14.0/60GJ | 60 | 140 | 131 | 3000 | 150 | 1.960 | 0.910 |
| 195 | THIẾT BỊ XBD16.0/60GJ | 60 | 160 | 160 | 3000 | 150 | 2.240 | 1.040 |
| 196 | THIẾT BỊ XBD18.0/60GJ | 60 | 180 | 160 | 3000 | 150 | 2.520 | 1.170 |
| 197 | THIẾT BỊ XBD20.0/60GJ | 60 | 200 | 200 | 3000 | 150 | 2.800 | 1.300 |
| 198 | XBD3.0/70GJ-SEAD | 70 | 30 | 37 | 3000 | 150 | 0.420 | 0.195 |
| 199 | XBD4.0/70GJ-SEAD | 70 | 40 | 45 | 3000 | 150 | 0.560 | 0.260 |
| 200 | XBD5.0/70GJ-SEAD | 70 | 50 | 55 | 3000 | 150 | 0.700 | 0.325 |
| 201 | THIẾT BỊ XBD6.0/70GJ | 70 | 60 | 75 | 3000 | 150 | 0.840 | 0.390 |
| 202 | XBD7.2/70GJ-SEAD | 70 | 72 | 90 | 3000 | 150 | 1.008 | 0.468 |
| 203 | THIẾT BỊ XBD8.2/70GJ | 70 | 82 | 110 | 3000 | 150 | 1.148 | 0.533 |
| 204 | THIẾT BỊ XBD9.0/70GJ | 70 | 90 | 110 | 3000 | 150 | 1.260 | 0.585 |
| 205 | XBD10.0/70GJ-SEAD | 70 | 100 | 132 | 3000 | 150 | 1.400 | 0.650 |
| 206 | XBD13.0/70GJ-SEAD | 70 | 130 | 160 | 3000 | 150 | 1.820 | 0.845 |
| 207 | XBD15.0/70GJ-SEAD | 70 | 150 | 200 | 3000 | 150 | 2.100 | 0.975 |
| 208 | XBD3.0/80GJ-SEAD | 80 | 30 | 37 | 3000 | 150 | 0.420 | 0.195 |
| 209 | XBD4.0/80GJ-SEAD | 80 | 40 | 45 | 3000 | 150 | 0.560 | 0.260 |
| 210 | XBD5.0/80GJ-SEAD | 80 | 50 | 55 | 3000 | 150 | 0.700 | 0.325 |
| 211 | THIẾT BỊ XBD6.0/80GJ | 80 | 60 | 75 | 3000 | 150 | 0.840 | 0.390 |
| 212 | XBD7.2/80GJ-SEAD | 80 | 72 | 90 | 3000 | 150 | 1.008 | 0.468 |
| 213 | THIẾT BỊ XBD8.2/80GJ | 80 | 82 | 110 | 3000 | 150 | 1.148 | 0.533 |
| 214 | XBD9.0/80GJ-SEAD | 80 | 90 | 110 | 3000 | 150 | 1.260 | 0.585 |
| 215 | THIẾT BỊ XBD10.0/80GJ | 80 | 100 | 132 | 3000 | 150 | 1.400 | 0.650 |
| 216 | XBD13.0/80GJ-SEAD | 80 | 130 | 160 | 3000 | 150 | 1.820 | 0.845 |
| 217 | THIẾT BỊ XBD15.0/80GJ | 80 | 150 | 200 | 3000 | 150 | 2.100 | 0.975 |
| 218 | XBD3.0/90GJ-SEAD | 90 | 30 | 55 | 3000 | 200 | 0.420 | 0.195 |
| 219 | XBD4.0/90GJ-SEAD | 90 | 40 | 75 | 3000 | 200 | 0.560 | 0.260 |
| 220 | XBD5.0/90GJ-SEAD | 90 | 50 | 75 | 3000 | 200 | 0.700 | 0.325 |
| 221 | XBD6.0/90GJ-SEAD | 90 | 60 | 90 | 3000 | 200 | 0.840 | 0.390 |
| 222 | XBD7.0/90GJ-SEAD | 90 | 70 | 110 | 3000 | 200 | 0.980 | 0.455 |
| Con số | Kiểu | dòng chảy danh nghĩa (T/S) |
Cố gắng (m) |
Quyền lực (kW) |
Tốc độ (vòng/phút) |
Cỡ nòng (mm) |
Áp suất làm việc tối đa (MPa) |
150% áp suất dòng danh nghĩa ( ≥Mpa) |
| 223 | XBD8.0/90GJ-SEAD | 90 | 80 | 110 | 3000 | 200 | 1.120 | 0.520 |
| 224 | THIẾT BỊ XBD9.0/90GJ | 90 | 90 | 132 | 3000 | 200 | 1.260 | 0.585 |
| 225 | THIẾT BỊ XBD10.2/90GJ | 90 | 102 | 160 | 3000 | 200 | 1.428 | 0.663 |
| 226 | XBD12.0/90GJ-SEAD | 90 | 120 | 200 | 3000 | 200 | 1.680 | 0.780 |
| 227 | XBD3.0/100GJ-SEAD | 100 | 30 | 55 | 3000 | 200 | 0.420 | 0.195 |
| 228 | XBD4.0/100GJ-SEAD | 100 | 40 | 75 | 3000 | 200 | 0.560 | 0.280 |
| 229 | XBD5.0/100GJ-SEAD | 100 | 50 | 75 | 3000 | 200 | 0.700 | 0.325 |
| 230 | THIẾT BỊ XBD6.0/100GJ | 100 | 60 | 90 | 3000 | 200 | 0.840 | 0.390 |
| 231 | XBD7.0/100GJ-SEAD | 100 | 70 | 110 | 3000 | 200 | 0.980 | 0.455 |
| 232 | THIẾT BỊ XBD8.0/100GJ | 100 | 80 | 132 | 3000 | 200 | 1.120 | 0.520 |
| 233 | THIẾT BỊ XBD9.0/100GJ | 100 | 90 | 160 | 3000 | 200 | 1.260 | 0.585 |
| 234 | XBD9.8/100GJ-SEAD | 100 | 98 | 200 | 3000 | 200 | 1.372 | 0.637 |
| 235 | XBD3.0/110GJ-SEAD | 100 | 30 | 55 | 3000 | 200 | 0.420 | 0.195 |
| 236 | XBD4.0/110GJ-SEAD | 110 | 40 | 75 | 3000 | 200 | 0.560 | 0.260 |
| 237 | XBD5.0/110GJ-SEAD | 110 | 50 | 90 | 3000 | 200 | 0.700 | 0.325 |
| 238 | XBD6.0/110GJ-SEAD | 110 | 60 | 110 | 3000 | 200 | 0.840 | 0.390 |
| 239 | XBD7.0/110GJ-SEAD | 110 | 70 | 132 | 3000 | 200 | 0.980 | 0.455 |
| 240 | XBD8.0/110GJ-SEAD | 110 | 80 | 160 | 3000 | 200 | 1.120 | 0.520 |
| 241 | XBD9.0/110GJ-SEAD | 110 | 90 | 160 | 3000 | 200 | 1.260 | 0.585 |
| 242 | XBD10.0/110GJ-SEAD | 110 | 100 | 200 | 3000 | 200 | 1.400 | 0.650 |
| № | KÍCH THƯỚC GẮN | GÓC | TẦNG HẦM | ||||||||||||||
| H | A | E | L1 | L2 | B | C | 4-Φd1 | D | D1 | DN | n-Φd | C1 | B1 | B2 | T | 4-d2 | |
| 1-5L/giây | Nước sâu | 110 | Φ220 | 225 | 175 | 275 | 350 | 4-Φ22 | 165 | 125 | 50 | 4-Φ18 | 600 | 275 | f280 | 300 | 4-Φ50 |
| 10-15L/giây | Nước sâu | 125 | Φ260 | 260 | 200 | 280 | 400 | 4-Φ22 | 200 | 160 | 80 | 4-Φ18 | 600 | 280 | Φ280 | 300 | 4-Φ50 |
| 20-15L/giây | Nước sâu | 125 | φ260 | 260 | 200 | 280 | 400 | 4-Φ22 | 220 | 180 | 100 | 8-Φ18 | 600 | 280 | Φ280 | 300 | 4-Φ50 |
| 40-80L/giây | Nước sâu | 180 | f305 | 310 | 223 | 310 | 450 | 4-Φ22 | 285 | 240 | 150 | 8-Φ22 | 700 | 310 | Φ310 | 300 | 4-Φ50 |
| 90-110L/giây | Nước sâu | 250 | F305 | 380 | 255 | 360 | 510 | 4-Φ22 | 340 | 295 | 200 | 12-Φ22 | 800 | 360 | Φ330 | 300 | 4-Φ50 |